Santa Clarita Valley History In Pictures
> LAKE COMMUNITIES
Manzanita Room Matchbook Cover
Munz Lakes Resort

Click image to enlarge


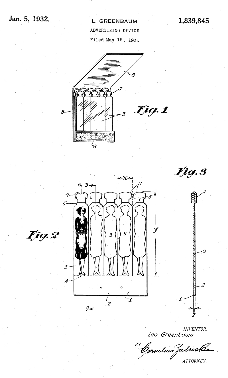
Patent No. 1,839,845. Click to enlarge.

Die-cut matchbook cover, Manzanita Room (cocktail lounge) and Locust Tree Grill at Munz Lakes Resort, printed by Lion Match Co. of Los Angeles sometime after 1932, when it was patented, which date happens to coincide with the approximate opening of the resort.

The inside of the matchbook shows three patent numbers: 1,733,258 and 1,839,845 and 1,839,846. The first patent application was filed in 1925 and approved in 1927; the latter two were filed in 1931 and approved in 1932.

Why a die-cut window that shows the matches inside? Because the matches were printed with a design. (Too bad they're missing.) See the illustration of Patent No. 1,839,845 at right.

The drawing of a waitress is intended to be an example only. The design would vary based on the purpose or the client. The patent applicant, L. Greenbaum, explains: "If it be desired to advertise a restaurant, the pictures on the individual splints may be those of waitresses holding trays. I wish it understood, however, that the invention is not limited to a splint with a picture of a human figure thereon. Any other individual picture correlated with the subject matter to be advertised may be delineated on each individual splint."

The subsequent patent, No. 1,839,846, shows a number of different possible shapes for the die-cut matches (splints).


About Munz Lakes.

The Munz Lakes Resort was established at what is now 17000 Elizabeth Lake Road, between Lake Hughes on the west and Lake Elizabeth on the east, by the heirs of John Munz, a Swiss farmer and merchant who settled on the property in 1898.

John Munz (b. 1850) immigrated in 1878 to Illinois where he met his Swiss-born bride, Amalia Tischauser (b. 1860), and set up a farm. In the 1890s they relocated to the German/Swiss Lutheran colony of Palmenthal, aka Palendale, aka Palmdale, Calif., where they operated the Munz General Store. The couple had eight children before 1898 when Amalia died in childbirth.

Faced with his wife's death as well as a drought that compelled many of his customers to abandon the settlement, John Munz traded his store in 1898 for a 160-acre homestead at Elizabeth Lake and started over.

John and his children established the region's first big turkey ranch on the property. John became a justice of the peace, and one of his children was appointed Elizabeth Lake postmaster in 1914, running the post office inside the family home.

Sometime before 1934 — and probably after John's death in 1925 — his children dug and filled the 6.5-acre, 5-foot-deep Munz Lake. (Unlike the 123.2-acre Lake Elizabeth and the 21.4-acre Lake Hughes, Munz is man-made. Its water comes from wells, rain and runoff, partially from Lake Elizabeth, and it discharges into Lake Hughes. As for Munz "Lake" vs. "Lakes": While it might surface in multiple pools, regulatory agencies consider it a single water body.)

It was around this time that John's descendants established the Munz Lakes Resort. The lake was apparently expanded to 26 acres. According to L.A. County Assessor records, one building that still stands on the property was erected in 1950. The signature building, the Locust Tree Grill — located across the street from L.A. County Fire Station 78 — undoubtedly predated the 1950 structure, but it was torn down in the early 2000s when actor and philanthropist Paul Newman purchased the property for The Painted Turtle, a nonprofit camp that provides focused activities for chronically ill children. The initial camp buildings were erected in 2003, and the camp opened in 2004.

The property was heavily impacted on the evening of June 1, 2013, when the Powerhouse Fire ravaged the lake communities. The Painted Turtle's many buildings narrowly escaped the flames — only a barn and two sheds were lost — but the grounds were devastated and the structures sustained heavy smoke damage. The organization had to cancel its 2013 summer program schedule and started raising money for restoration.


LW3262: 9600 dpi jpeg from original matchbook cover purchased 2018 by Leon Worden.
MUNZ HOMESTEAD

thumbnail

Arnold Munz Story

MUNZ LAKES RESORT

thumbnail

Manzanita Room

thumbnail

Locust Tree Grill

thumbnail

BSA Bivouac 1959

thumbnail

Entrance ~1960

thumbnail

Boating 1962

RETURN TO TOP ]   RETURN TO MAIN INDEX ]   PHOTO CREDITS ]   BIBLIOGRAPHY ]   BOOKS FOR SALE ]
SCVHistory.com is another service of SCVTV, a 501c3 Nonprofit • Site contents ©SCVTV
The site owner makes no assertions as to ownership of any original copyrights to digitized images. However, these images are intended for Personal or Research use only. Any other kind of use, including but not limited to commercial or scholarly publication in any medium or format, public exhibition, or use online or in a web site, may be subject to additional restrictions including but not limited to the copyrights held by parties other than the site owner. USERS ARE SOLELY RESPONSIBLE for determining the existence of such rights and for obtaining any permissions and/or paying associated fees necessary for the proposed use.
comments powered by Disqus